展位预订:021-3114 8748
参观/媒体联系:13601815988
QQ:2463282767
邮箱:artsexpo@sgexpo.cn
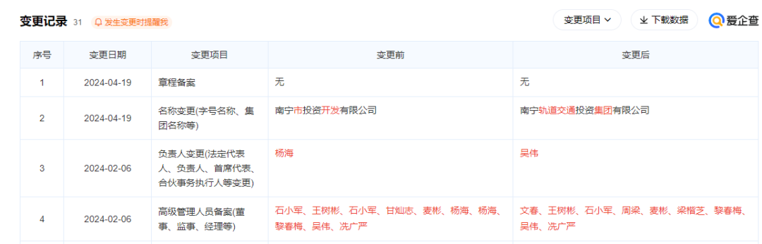
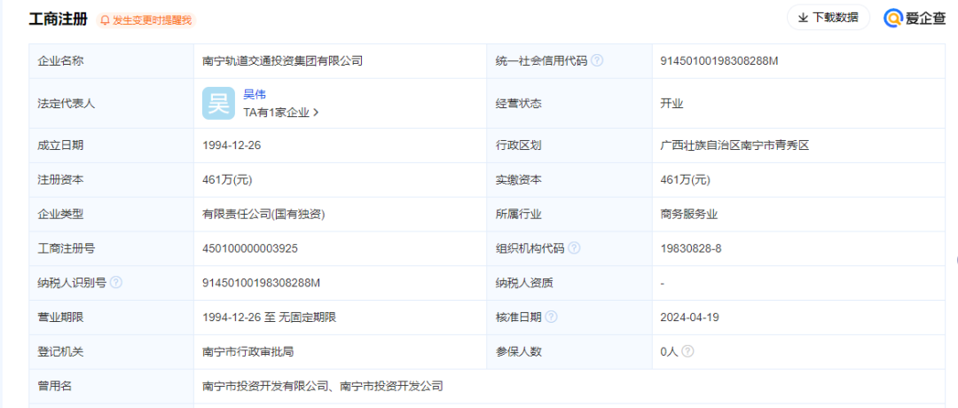
公海彩船官方网站 消息 南宁轨道交通集团有限责任公司公告,根据《南宁市国资委关于组建南宁轨道交通投资集团有限公司有关事项的通知》等文件,将本公司的股权全额划转至南宁市投资开发有限公司名下,将南宁市投资开发有限公司更名组建成新的集团公司一一南宁轨道交通投资集团有限公司。公司控股股东工商变更手续预计于2024年5月完成。


经营范围:市政工程项目的投资、建设、维护和经营管理(除国家有专项规定外),建设项目评估和咨询(凭资质证经营)。(依法须经批准的项目,经相关部门批准后方可开展经营活动。)
扫码加入交流群