展位预订:021-3114 8748
参观/媒体联系:13601815988
QQ:2463282767
邮箱:artsexpo@sgexpo.cn
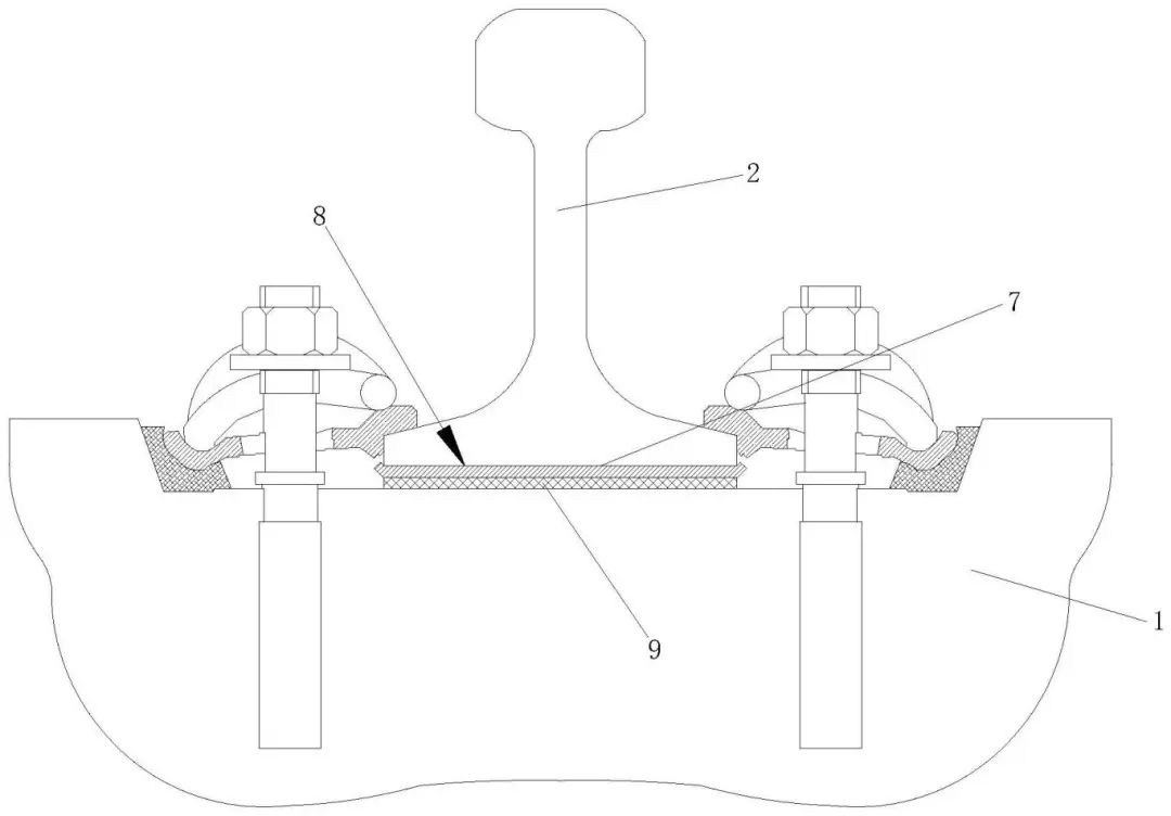
本发明涉及铁路道岔设备技术领域,提供一种铁路道岔曲尖轨防磨损装置,包括平行设置的轨枕、铺设于轨枕上的基本轨以及栓接于基本轨道岔上的曲尖轨,设于机车运行方向左侧的基本轨包括左过渡段、超高段和右过渡段,左过渡段到超高段高度逐渐增加,超高段到右过渡段高度逐渐降低。本申请通过在道岔前方铁路上设置超高段,使两侧基本轨之间产生高度差,当机车车辆通过曲尖轨时,车体能够自动横向倾斜一定角度,通过车体重力的水平分力平衡转向所需的离心力,降低机车车辆对曲尖轨的异常冲击,减少曲尖轨维护工作量,延长曲尖轨使用寿命,通过在超高段两端分别设置左过渡段和右过渡段,能够将超高段的超高量沿纵向均匀递减到零,从而提高安全性。

本发明公开了一种无砟轨道多尺度损伤演变分析方法,包括获取目标无砟轨道数据信息;生成随机骨料模型;建立初始模型作为当前模型并设定当前约束条件;在当前约束条件下对当前模型施加当前加载步的荷载并求解;计算梁单元损伤指标和一级平面单元损伤指标;删除当前模型所有约束和载荷;将梁单元转换为一级平面单元,将一级平面单元细化得到精细化单元;遍历精细化单元并导入随机骨料模型;重新添加接触关系得到新的当前模型并设定新的当前约束条件;重复以上步骤直至加载步满足设定要求;进行后处理完成目标无砟轨道的多尺度损伤演变分析。本发明还公开了一种实现所述无砟轨道多尺度损伤演变分析方法的系统。本发明可靠性高、精确性好且效率高。

本发明属于实训系统技术领域,公开了一种装配式地铁站施工实训系统,包括装配式地铁框架结构、装配式地铁移动组件,所述装配式地铁移动组件通过水平移动低柱水平移动,所述装配式地铁移动组件的顶部对称设有安装座移动件,还包括:装配式安装结构,活动连接于装配式地铁移动组件的顶部;本发明为交通工具的轨道模型,也可称为装配式地铁站实训模型,本发明对装配式地铁框架结构进行了改进,使得装配式弧形顶板可通过装配式重心板降低重心,使得装配式地铁框架结构连接后非常牢固,整个安装作业更加安全、稳定,改进后的装配式地铁框架结构仍然可以配合装配式地铁移动组件、装配式安装结构、半自动拆卸限定组件进行半自动安装作业。

本发明公开了一种基于地铁车地无线通信的障碍物感知方法及装置,属于轨道交通领域,该方法包括:与来向车载设备建立通信连接的情况下,关闭与去向邻居基站的感知状态,并且存在去向邻居基站的情况下向去向邻居基站发送断开消息,以及在存在来向邻居基站的情况下,向来向邻居基站发送恢复消息;在接收到去向邻居基站发送的恢复消息的情况下,开启每个方向的感知状态,并在任一方向邻居基站开启对向感知状态情况下,与对应方向的邻居基站建立感知连接。该方法可以在不增加基站数量的情况下,实现通信服务和感知服务的复用,降低需要感知服务而导致的建设成本和维护成本,并且可以有效规避掉因列车导致的障碍物误判,从而实现精准的障碍物感知判断。

本发明公开了一种列控数据获取方法、装置、电子设备及存储介质,涉及轨道交通技术领域。该列控数据获取方法,包括:获取预设初始关键字以及数据源;根据预设目标识别规则将匹配关键字拆分为至少两个层次结构的子匹配关键字;在数据源中依次对各个层次结构的子匹配关键字进行匹配,确定目标字段对应的初始列控数据;根据预设数据格式将初始列控数据调整生成目标列控数据。本发明实施例,实现按照匹配关键字自动按照层次结构进行拆分,每一层次结构的子匹配关键字在上一层次结构的子匹配关键字匹配成功的范围内进行匹配,提高匹配效率,同时,自动将匹配的初始列控数据调整为预设数据格式的目标列控数据,提高获取目标列控数据的效率。

扫码加入交流群