展位预订:021-3114 8748
参观/媒体联系:13601815988
QQ:2463282767
邮箱:artsexpo@sgexpo.cn
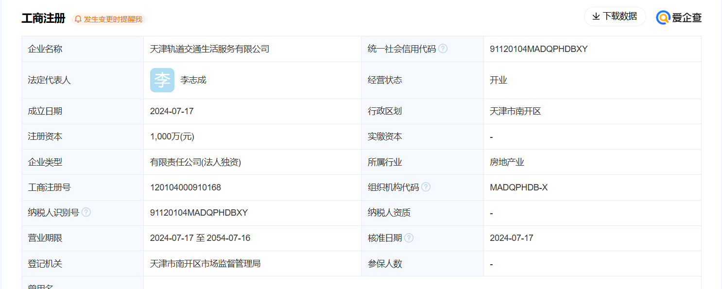
公海彩船官方网站 消息 近日又有3家轨道交通公司成立,他们分别是天津轨道交通生活服务有限公司、天津滨海新区轨道资源开发有限公司、嘉兴市南湖铁路与轨道交通资源开发有限公司。
天津轨道交通生活服务有限公司

天津滨海新区轨道资源开发有限公司

嘉兴市南湖铁路与轨道交通资源开发有限公司

相关推荐:公海彩船官方网站 展位预订 公海彩船官方网站 免费报名参观
扫码加入交流群